“酸”對葡萄酒來說非常重要,它與酒精、單寧和甜度并列為影響葡萄酒品質的四大基本要素。對于釀酒師和葡萄酒發燒友而言,理解葡萄酒的酸也極為重要。
“酸”的來源

葡萄酒里的“酸”,部分來自葡萄本身,部分則來自于葡萄酒的釀造過程。其中,酒石酸(tataric)、蘋果酸(malic)和檸檬酸(citric)3種源于葡萄果實;另外3種酸,是由酒精發酵和細菌活動形成的琥珀酸(amber)、乳酸(lactic)和醋酸(acetic)。
葡萄酒的pH值
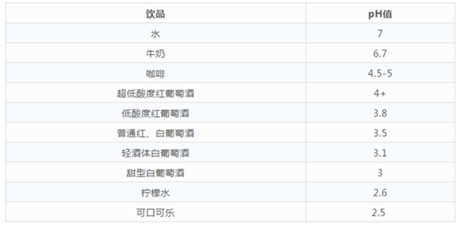
首先,所有類型的葡萄酒無一例外都是“酸性”的,絕大多數葡萄酒的pH值都介于3~4之間(理想情況下,白葡萄酒的pH值在3.0~3.4之間,而紅葡萄酒在3.3~3.6之間),低于咖啡,但比檸檬水稍高。
常見飲品的pH值對比

pH值對葡萄酒的影響
1. 口感
葡萄酒的pH值,反映的是葡萄酒的酸的強度。pH值越低,酸度越強,呈現出來的口感則越清脆鮮活,與之相反,高pH值(低酸度)的葡萄酒則往往口感豐厚,這一點想必不難理解。
2. 殺菌
除了影響口感之外,pH值高低對于釀酒師來說還有別的指導意義。由于大部分細菌生物無法在低pH值的環境下存活,因此在釀造高酸度葡萄酒時,釀酒師可以減少使用二氧化硫等用于殺菌的添加劑。與之相反,高pH值(低酸度)的葡萄酒則往往更容易受到細菌的侵害。
3. 陳年
在釀酒過程中,高酸度(低pH值)的葡萄酒發酵速度會更快,同時酸度也會增強葡萄酒的陳年能力。
4. 顏色
此外,pH值高低還會影響葡萄酒的顏色。葡萄酒的顏色主要受到醋酸菌和乳酸的共同影響。葡萄果實內的離子化進程以及酸度的高低決定了葡萄的顏色。高酸度的紅葡萄酒會擁有深紅的顏色,而低酸度的紅葡萄酒則會帶有一絲模糊的棕色。白葡萄酒的情況也非常類似,低酸度的白葡萄酒同樣會偏棕色一點。

TA值又是什么?
除了反映酸的強度的pH值,葡萄酒的酸度通常還可以用TA(Total Acidity,總酸度)來衡量,其反映的則是酸的數量。如果一款葡萄酒的總酸度是0.6 %,那就是說,100毫升的這款葡萄酒中,含有0.60克酸。
大多數葡萄酒的總酸度為0.6~0.7%;而如果一款酒的總酸度超過了1%,就會過于尖酸、難以下咽了。總酸度太低的葡萄酒(低于0.4%),則喝起來會淡然無味,太過貧瘠。
不過,高酸度葡萄酒的口感也可以用甜度來平衡。例如,冰酒的總酸度高達1.5%,但同時它的甜度也非常高,因此喝起來仍然能夠取得平衡的口感,同時得益于高酸度,冰酒還擁有很強的陳年能力,能夠陳年數十年。
將pH值和TA值綜合起來,我們就可以初步判斷一款酒的口感和風格。例如,假設兩款酒pH值相同,那么TA值較高的那款酒嘗起來則會更“酸”。
但是,葡萄酒的酸對味道的影響遠比簡單的數值對比更加復雜,因為不同類型的酸也會影響我們對酸的感受。例如,霞多麗(Chardonnay)在橡木桶內陳年的過程中,其蘋果酸會逐步轉化成乳酸,口感也會逐漸由尖酸變得更加順滑。
總而言之,葡萄酒的酸對于酒的抗菌、口感、顏色、陳年能力等方面都發揮重要作用,但是將酸度孤立起來、單以酸度高低來評價葡萄酒的方法是不可取的,因為酸度的數值并不能準確反映葡萄酒在我們口中產生的感受。